1. Introduction
Developed and designed in-house and tested
in practice, we have produced a series of cutting machines and cutting lines
that will be regarded as industry leading since 2003. All of our CNC cutting
machines can be equipped with oxy-fuel and/or plasma cutting equipment.
This series CNC flame&plasma cutting
machine is developed based on the plasma cutting technology home and abroad. It
can equip the American Hypertherm, American Thermadyne, Germany Kemper and
domestic plasma sources.
Guoheng earned its global market position
by offering extremely innovative cutting solutions for customers in steel
construction, offshore, shipbuilding, process and crane building industry.
We also provide user-friendly broad choices
and options that allow you to configure your CNC cutting system with the
capacities, speed and accuracy of your needs.
2. Main Parameters
|
Model
|
CNC-FP25
|
CNC-FP30
|
CNC-FP40
|
CNC-FP50
|
CNC-FP60
|
CNC-FP70
|
CNC-FP80
|
|
Drive system
|
Single side gear and rack driving
|
Double sides gear and rack driving
|
|
Rail span mm
|
2,500
|
3,000
|
4,000
|
5000
|
6000
|
7000
|
8000
|
|
Valid working width mm
|
1,700
|
2,200
|
3,200
|
4200
|
5200
|
6200
|
7200
|
|
Strip/straight cutting width mm
|
80—1,700
|
80—2200
|
80—3200
|
80—4200
|
80—5200
|
80—6200
|
80—7200
|
|
Rail length mm
|
15,000 (valid cutting length 12,5000), fine machining
I-rail
|
|
Torch lift stroke mm
|
150
|
|
Flame cutting speed mm/min
|
50—1,000 (setting as per cutting technology)
|
|
Fast return speed mm/min
|
4,000
|
|
Flame cutting material
|
MS
|
|
Flame cutting thickness mm
|
6—150 (single torch), piercing thickness≤100
|
|
Plasma cutting thickness mm
|
Depend on plasma power source
|
|
Plasma cutting speed mm/min
|
Depend on plasma power source
|
|
Plasma cutting material
|
MS, Aluminum, SS
|
|
Intersection point deviation mm
|
≤0.5 (800*800 industry standard prescribed figure
lineation)
|
|
Diagonal error mm
|
≤0.5 (square lineation)
|
|
Power supply
|
AC380V 50HZ 3P or tailor made
|
|
Above are our standard models and parameters, and it can be
designed and manufactured on request.
|
|
|
|
|
|
|
|
|
|
*We reserve the right to alter
specifications without prior notice.
3. Main features
The standard models of our CNC flame&plasma
cutting machines have the following features:
Robust all steel fabrication with stable structure and good
rigidity, and no deformation after long time using;
Micro-step SH-2200AH CNC system;
Capacitive height controller and auto-igniter for flame torch;
arc-voltage height controller for plasma torch
Australia FASTCAM auto programming and nesting software;
Both longitudinal and transverse drives adopt Japan Panasonic high
precision A.C. servo motor, Germany NEGUART high precision gear reducer and high
precision gear and rack.
The brushless AC servo motor has high torque, high resolution and
high inertia.
Longitudinal rail is fine machining rail. Rack material is 45#
steel, fixed in rail by bolt in sections.
Advanced PC-Based CNC controller with faster processing speed &
greater accuracy improves productivity. This CNC controller features a Windows
operating system and colored LCD screen.
Germany IGUS transverse drag chain;
Limit switch for gantry travel;
Heat treatment to main welding parts
after welding; sand blasting treatment to main welding parts before painting;
High intensive heat-resisting gas supply pipe;
Backfire arrester and solenoid for cutting oxygen for torch;
All motion parts have lubrication system;
Main electric elements are ABB/Siemens brands;
Hand pendant;
Lifting lug;
Standard color:
Optional features:
American HYPERTHERM edge Pro CNC system;
Spanish FAGOR CNC system;
American BURNY 10LCD plus;
Dust collection system for plasma cutting: dry type or underwater
type;
Triple torch for X, Y, V&K type bevel;
Powder spray marking function;
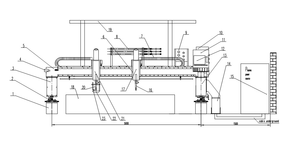
4. Reference drawing

5. Reference photo



 |